
6 皮帶運輸機防騰空壓帶裝置-.doc
皮帶運輸機防騰空壓帶裝置
技術領域
本實用新型涉及一種皮帶運輸機防騰空壓帶裝置。
背景技術
隨著工礦企業的快速發展,皮帶運輸機因有著高效的運輸能力而在煤礦井下廣為應用,但由于采掘巷道受地質條件影響,巷道高低不平,皮帶時常出現騰空而導致皮帶撕帶、斷帶,以及皮帶扣損壞的情況,給日常的維護保養帶來了極大的不便與困難,給人身安全造成了巨大的隱患。
發明內容
本實用新型是為了解決皮帶運輸機在地質條件惡劣的情況下,容易因騰空而頻繁損壞的問題,而提供了一種皮帶運輸機防騰空壓帶裝置。
本實用新型是通過以下技術方案實現的:
皮帶運輸機防騰空壓帶裝置,包括兩根槽鋼和固定拉桿組成的壓帶框架,固定拉桿固定在兩根槽鋼頂端之間,兩根槽鋼內側垂直槽鋼方向分別固定有托輥固定架,托輥固定架上方與槽鋼之間斜焊有加強筋,托輥固定架下方兩端分別焊接托輥固定板Ⅰ、Ⅱ,兩塊托輥固定板Ⅰ、Ⅱ之間安裝壓帶輪,靠近槽鋼一側的托輥固定板Ⅰ與槽鋼之間焊接托輥固定板Ⅲ,槽鋼下部還焊接托輥固定板Ⅳ,托輥固定板Ⅲ、Ⅳ之間安裝跑偏輪。
進一步地,所述的槽鋼下方外側焊接固定板,固定板上方與槽鋼平焊接一塊輔助固定板。
所述的固定拉桿兩端為螺紋結構,與兩根槽鋼螺紋連接,方便調節和防止傾倒。
本實用新型主要適用于煤礦井下地質條件惡劣,采掘巷道高低不平的皮帶運輸機上,使用時,兩側槽鋼底部的固定板,用U型卡固定在低凹處的H架的左右兩側上,上方用固定拉桿連接左右槽鋼,螺紋結構便于調節皮帶寬度和固定左右槽鋼,防止框架傾倒,固定在壓帶框架之間的壓帶輪和防跑偏輪,可以額有效的的一種防止皮帶騰空的一種壓帶裝置。
本實用新型結構簡單,使用方便,可以有效的防止皮帶騰空和跑偏,減低皮帶的維修頻率,保證運輸效率,降低安全隱患。
附圖說明
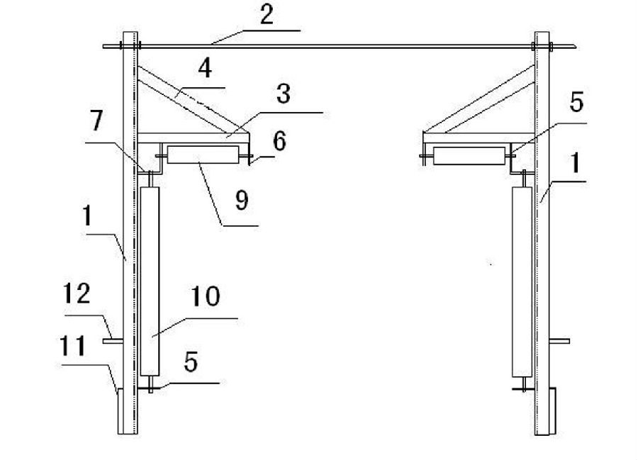
圖1為本實用新型的結構示意圖;
圖中:1-槽鋼、2-固定拉桿、3-托輥固定架、4-加強筋、5-托輥固定板Ⅰ、6-托輥固定板Ⅱ、7-托輥固定板Ⅲ、8-托輥固定板Ⅳ、9-壓帶輪、10-跑偏輪、11-固定板、12-輔助固定板。
具體實施方式
以下結合附圖對本實用新型做進一步說明。
如圖1所示的皮帶運輸機防騰空壓帶裝置,包括兩根槽鋼1和固定拉桿2組成的壓帶框架,固定拉桿2固定在兩根槽鋼1頂端之間,兩根槽鋼1內側垂直槽鋼1方向分別固定有托輥固定架3,托輥固定架3上方與槽鋼1之間斜焊有加強筋4,托輥固定架3下方兩端分別焊接托輥固定板Ⅰ6、Ⅱ7,托輥固定板Ⅰ6、Ⅱ7之間安裝壓帶輪9,靠近槽鋼1一側的托輥固定板Ⅰ6與槽鋼1之間焊接托輥固定板Ⅲ7,槽鋼1下部還焊接托輥固定板Ⅳ8,托輥固定板Ⅲ7、Ⅳ8之間安裝跑偏輪10。
其中槽鋼1下方外側焊接固定板11,固定板11上方與槽鋼1平焊接一塊輔助固定板12;固定拉桿2兩端為螺紋結構,與兩根槽鋼1螺紋連接。
權利要求書
1、一種皮帶運輸機防騰空壓帶裝置,其特征在于,包括兩根槽鋼(1)和固定拉桿(2)組成的壓帶框架,固定拉桿(2)固定在兩根槽鋼(1)頂端之間,兩根槽鋼(1)內側垂直槽鋼(1)方向分別固定有托輥固定架(3),托輥固定架(3)上方與槽鋼(1)之間斜焊有加強筋(4),托輥固定架(3)下方兩端分別焊接托輥固定板Ⅰ(6)、托輥固定板Ⅱ(7),托輥固定板Ⅰ(6)、托輥固定板Ⅱ(7)之間安裝壓帶輪(9),靠近槽鋼(1)一側的托輥固定板Ⅰ(6)與槽鋼(1)之間焊接托輥固定板Ⅲ(7),槽鋼(1)下部還焊接托輥固定板Ⅳ(8),托輥固定板Ⅲ(7)、托輥固定板Ⅳ(8)之間安裝跑偏輪(10)。
2、根據權利要求1所述的皮帶運輸機防騰空壓帶裝置,其特征在于,所述的槽鋼(1)下方外側焊接固定板(11),固定板(11)上方與槽鋼(1)平焊接一塊輔助固定板(12)。
3、根據權利要求1或2所述的皮帶運輸機防騰空壓帶裝置,其特征在于,所述的固定拉桿(2)兩端為螺紋結構。
說明書摘要
本實用新型公開了一種皮帶運輸機防騰空壓帶裝置,解決皮帶運輸機在地質條件惡劣的情況下,容易因騰空而頻繁損壞的問題。皮帶運輸機防騰空壓帶裝置,包括兩根槽鋼和固定拉桿組成的壓帶框架,固定拉桿固定在兩根槽鋼頂端之間,兩根槽鋼內側垂直槽鋼方向分別固定有托輥固定架,托輥固定架上方與槽鋼之間斜焊有加強筋,托輥固定架下方兩端分別焊接托輥固定板Ⅰ、Ⅱ,兩塊托輥固定板Ⅰ、Ⅱ之間安裝壓帶輪,靠近槽鋼一側的托輥固定板Ⅰ與槽鋼之間焊接托輥固定板Ⅲ,槽鋼下部還焊接托輥固定板Ⅳ,托輥固定板Ⅲ、Ⅳ之間安裝跑偏輪。本實用新型結構簡單,使用方便,可以有效的防止皮帶騰空和跑偏,減低皮帶的維修頻率,保證運輸效率,降低安全隱患。
說明書附圖

圖1