
18頂板錨固劑安裝器.doc
頂板錨固劑安裝器
技術領域
本實用新型涉及井下掘進工作面錨網支護過程中頂板安裝錨固劑時使用的安裝工具。
背景技術
井下掘進工作面在進行錨網支護時,一般都是由人員踩在樓梯上在空頂區域徒手進行安裝錨固劑,一旦頂板冒落,人員還踩在樓梯上,撤退空間受到局限,非常容易出現安全事故,更不用說在地質條件不好時,煤質松軟容易垮落造成采高過高,給安裝錨固劑帶來很大困難,不僅費時費力,而且安全系數也非常低。
發明內容
本實用新型要解決的技術問題是提供一種安全且安裝效率高的頂板錨固劑安裝器。
為解決以上技術問題,本實用新型采用以下技術方案。
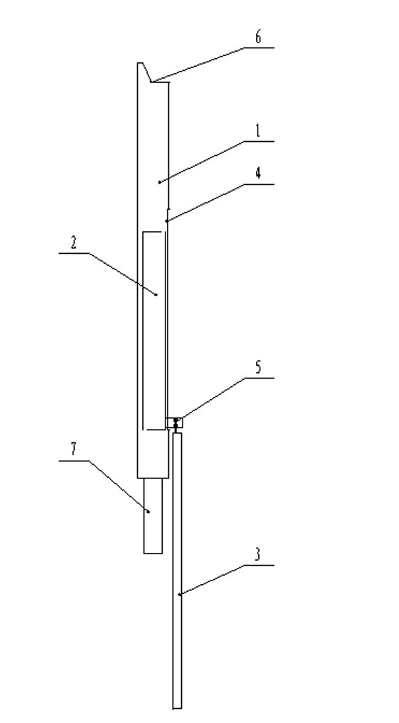
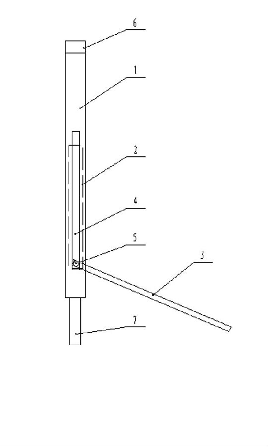
一種頂板錨固劑安裝器,包括安裝槽、頂桿和操縱桿,所述的安裝槽側面開有推拉槽,頂桿裝入安裝槽內部,頂桿底部側面裝有從推拉槽穿出的連接銷,操縱桿在安裝槽外部并與連接銷連接,安裝槽頂部開有切口。
使用時,先把錨固劑放入安裝槽內并和頂桿頂端接觸,讓安裝槽切口對準鉆孔,向上推操縱桿,安裝槽內的錨固劑被推至鉆孔邊緣,然后用錨桿把錨固劑從安裝槽切口處推入鉆孔內,安裝完畢。
為了方便操作人員握持并保持安裝槽在工作時的穩定性,安裝槽底部固定連接手柄。
安裝槽頂部切口截面為梯形,使錨桿有足夠的空間把錨固劑推入鉆孔內。
安裝槽側面推拉槽為長方形,連接銷在此長方形推拉槽內有足夠的行程,使錨固劑被頂板推送到鉆孔邊緣。
本實用新型在使用過程中,具有以下優點:
(1)人員可以站在已經支護的地方進行安裝,不需要進入空頂區域,提高了安全系數。
(2)安裝速度快,效率高,保證了正常的安全生產。
(3)減少了安裝人員,原來安裝需要兩個人,使用安裝器后一人便可操作。
(4)安裝過程中,工人不需要上下樓梯,勞動強度明顯降低。
附圖說明
圖1為本實用新型頂板錨固劑安裝器的正面結構示意圖。
圖2為本實用新型頂板錨固劑安裝器的側面結構示意圖。
圖中,1-安裝槽,2-頂桿,3-操縱桿,4-推拉槽,5-連接銷,6-切口,7-手柄。
具體實施方式
為了使本領域技術人員更好的理解本實用新型,以下結合附圖對本實用新型作進一步清楚、完整的說明。
本實用新型所述的一種頂板錨固劑安裝器,包括安裝槽1、頂桿2和操縱桿3,所述的安裝槽1側面開有推拉槽4,頂桿2裝入安裝槽1內部,頂桿2底部側面裝有從推拉槽4穿出的連接銷5,操縱桿3在安裝槽1外部并與連接銷5連接,安裝槽1頂部開有切口6。其中,安裝槽頂部切口6截面為梯形,安裝槽側面推拉槽4為長方形。
安裝槽1是管狀結構,具有容納錨固劑的空腔。頂桿2在操縱桿3的推動下可以在安裝槽1內上下移動,錨固劑放入安裝槽1并與頂桿2頂端接觸,在頂桿2向上移動時將錨固劑推至鉆孔邊緣。切口6的頂端對準鉆孔,使用錨桿將推送到切口6處的錨固劑向鉆孔內推送。
安裝槽1底部固定連接手柄7,操作人員可以一手握手柄7,另一手操縱操縱桿3。
本實用新型要求保護的范圍不限于以上具體實施方式,對于本領域技術人員而言,本實用新型可以有多種變形和更改,凡在本實用新型的構思與原則之內所作的任何修改、改進和等同替換都應包含在本實用新型的保護范圍之內。
權利要求書
一種頂板錨固劑安裝器,其特征在于:包括安裝槽(1)、頂桿(2)和操縱桿(3),所述的安裝槽(1)側面開有推拉槽(4),頂桿(2)裝入安裝槽(1)內部,頂桿(2)底部側面裝有從推拉槽(4)穿出的連接銷(5),操縱桿(3)在安裝槽(1)外部并與連接銷(5)連接,安裝槽(1)頂部開有切口(6)。
根據權利要求1所述的頂板錨固劑安裝器,其特征在于:安裝槽(1)底部固定連接手柄(7)。
根據權利要求1所述的頂板錨固劑安裝器,其特征在于:安裝槽頂部切口(6)截面為梯形。
根據權利要求1或2或3所述的頂板錨固劑安裝器,其特征在于:安裝槽側面推拉槽(4)為長方形。
說明書摘要
本實用新型公開了一種安全且安裝效率高的頂板錨固劑安裝器,包括安裝槽、頂桿和操縱桿,所述的安裝槽側面開有推拉槽,頂桿裝入安裝槽內部,頂桿底部側面裝有從推拉槽穿出的連接銷,操縱桿在安裝槽外部并與連接銷連接,安裝槽頂部開有切口。錨固劑放入安裝槽內并和頂桿頂端接觸,讓安裝槽切口對準鉆孔,向上推操縱桿,安裝槽內的錨固劑被推至鉆孔邊緣,然后用錨桿把錨固劑從安裝槽切口處推入鉆孔內,安裝完畢。該工具具有安裝速度快,操作方便,效率高,明顯降低工人勞動強度,能夠有效提高安全系數等優點。
說明書附圖

圖1 圖2