用于集散控制系統的電源保障裝置
專利號:ZL200820077613.5(實用新型)
發明人:魏朝陽 魏秀峰
1技術領域
本實用新型涉及電源保障裝置,具體是一種用于集散控制系統的電源保障裝置。
2背景技術
近年來,隨著各化工企業生產規模的不斷擴大,生產自動化水平的不斷提高,集散控制系統DCS正成為各企業生產過程控制的主體。保證集散控制系統DCS的長周期穩定運行,不僅關系到企業生產的安全穩定性,而且還關系到企業產品的質量和企業效益。雖然各集散控制系統DCS生產廠家均采用了足夠容量的在線不間斷電源UPS對系統供電,但由于集散控制系統DCS是每天24小時的常年運行,不間斷電源UPS在正常運行中無法得到維護,致使不間斷電源UPS出現故障的機率較大,尤其以過流、過壓、過熱、電池電壓低等經常誤保護動作,各企業因不間斷電源UPS中斷造成集散控制系統DCS供電中斷,導致工藝生產系統大幅度停車的事故不斷發生。目前,各集散控制系統DCS廠家征對集散控制系統DCS供電盡管采用不同程度的優化,但供電的可靠性仍存在很大缺陷。例如:浙江中控技術有限公司生產的JX—300X系統,其控制站采用了市電和不間斷電源UPS兩路供電,但操作站全部由不間斷電源UPS供電,如不間斷電源UPS一旦
損壞,會造成所有操作站供電中斷,導致集散控制系統DCS處于失控狀態;北京和利時自動化有限公司生產的macx—II型系統,其控制站和操作站僅采用不間斷電源UPS供電,不間斷電源UPS一旦損壞,會造成整個集散控制系統DCS供電中斷,集散控制系統DCS失控。
3發明內容
本實用新型為了解決現有集散控制系統DCS采用的電源供電方式不合理,存在:一旦電源發生損壞,會造成整個集散控制系統DCS供電中斷,導致集散控制系統DCS失控的問題,提供了一種用于集散控制系統的電源保障裝置。
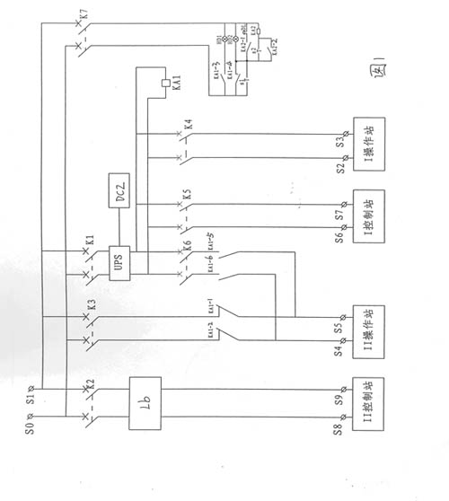
本實用新型是采用如下技術方案實現的:用于集散控制系統的電源保障裝置,包括內置有濾波器LB、不間斷電源UPS、以及不間斷電源UPS配備的電池組DCZ的箱體,箱體上設有:交流輸入端子S0、S1,Ⅰ控制站輸出端子S6、S7,Ⅱ控制站輸出端子S8、S9,Ⅰ操作站輸出端子S2、S3,Ⅱ操作站輸出端子S4、S5,兩相空氣開關K1-K6;Ⅱ控制站輸出端子S8、S9經濾波器LB、兩相空氣開關K2與交流輸入端子S0、S1相連,不間斷電源UPS的輸入端經兩相空氣開關K1與交流輸入端子S0、S1相連,不間斷電源UPS的輸出端串聯有繼電器KA1,Ⅱ操作站輸出端子S4、S5分別經繼電器KA1的常閉觸點KA1-2、KA1-1、以及兩相空氣開關K3與交流輸入端子S0、S1相連,Ⅱ操作站輸出端子S4、S5分別經繼電器KA1的常開觸點KA1-6、KA1-5、以及兩相空氣開關K6與不間斷電源UPS的輸出端相連,Ⅰ控制站輸出端子S6、S7和Ⅰ操作站輸出端子S2、S3分別經兩相空氣開關K5、K4與不間斷電源UPS的輸出端相連。
為明確指示本裝置的工作狀態,在電源故障時予以報警,箱體上還設有:指示燈HD1、指示燈HD2、蜂鳴器DL、試驗按鈕S1、復位按鈕S2、兩相空氣開關K7,指示燈HD1、繼電器KA1常開觸點KA1-3的串聯支路與指示燈HD2、繼電器KA1常閉觸點KA1-4的串聯支路相并聯,并經兩相空氣開關K7串聯與交流輸入端子S0、S1之間,指示燈HD2的兩端并聯有繼電器KA2與復位按鈕S2的串聯支路,復位按鈕S2兩端并聯有繼電器KA2的常開觸點KA2-2,試驗按鈕S1與繼電器KA2的常閉觸點KA2-1、蜂鳴器DL的串聯支路經兩相空氣開關K7串聯與交流輸入端子S0、S1之間,試驗按鈕S1與繼電器KA2常閉觸點KA2-1的連接節點與指示燈HD2、繼電器KA1常閉觸點KA1-4的連接節點相連。
使用時,將交流輸入端S0、S1與交流市電220VAC電網相接,Ⅰ控制站輸出端子、Ⅱ控制站輸出端子、Ⅰ操作站輸出端子、Ⅱ操作站輸出端子分別與相應的操作站和控制站相接;正常運行時,市電僅直接為II控制站供電,I控制站、I操作站直接由不間斷電源UPS供電,對于II操作站來說,在不間斷電源UPS正常工作狀態下,繼電器KA1得電,其常閉觸點KA1-2、KA1-1斷開,常開觸點KA1-6、KA1-5閉合,II操作站的不間斷電源UPS供電回路導通、市電供電回路截止,其由不間斷電源UPS供電;此時,繼電器KA1的常開觸點KA1-3閉合,常閉觸點KA1-4斷開,指示燈HD1亮,指示燈HD 2滅,代表II操作站現在由不間斷電源UPS供電。
當發生市電停電時,交流輸入端子S0、S1供電中斷,II控制站供電中斷,而I控制站、I操作站、II操作站均由不間斷電源UPS配備的電池組DCZ供電,不會影響集散控制系統DCS的正常工作。
當不間斷電源UPS故障或檢修時,不間斷電源UPS輸出中斷,繼電器KA1失電,其常閉觸點KA1-2、KA1-1閉合,常開觸點KA1-6、KA1-5斷開,II操作站的不間斷電源UPS供電回路截止、市電供電回路導通,其由不間斷電源UPS供電無擾動地切換為市電供電;II控制站仍由市電直接供電。仍能確保集散控制系統DCS的正常運行。此時繼電器KA1的常閉觸點KA1-4閉合,常開觸點KA1-3斷開,指示燈HD2亮,指示燈HD1滅,代表II操作站現在由市電供電,同時,峰鳴器DL響,提醒操作人員不間斷電源UPS因故障中斷,操作人員可按動箱體上的復位按鈕SA2消音。當按動復位按鈕S2時,繼電器KA2得電,其常開觸點KA2-2閉合,自鎖繼電器KA2,繼電器KA2的常閉觸點KA2-1斷開,峰鳴器DL停,此時指示燈HD2仍亮。
當不間斷電源UPS恢復后,繼電器KA1得電,繼電器KA1的常閉觸點KA1-4斷開,指示燈HD2滅,繼電器KA2失電,自鎖常開觸點KA2-2斷開,恢復報警前的狀態。
當繼電器KA1及其觸點損壞時,僅中斷II操作站的供電,而Ⅰ控制站、Ⅱ控制站、Ⅰ操作站仍能正常工作。
同時,增設有報警試驗部分—試驗按鈕S1與繼電器KA2的常閉觸點KA2-1、蜂鳴器DL的串聯支路,可定期對蜂鳴器DL進行檢測,按動箱體上的試驗按紐S1,此時,繼電器KA2的常閉觸點KA2-1處于閉合狀態,蜂鳴器DL響,指示燈HD2發光,可確認報警部分有效。
與現有技術相比,本實用新型以合理布局和配線,能對集散控制系統DCS的兩組控制站與操作站分別以市電和不間斷電源UPS供電,其中使以市電供電的操作站同時能以不間斷電源UPS供電,即該操作站具有自動切換的供電雙回路,當市電停電時,以不間斷電源UPS供電,當不間斷電源UPS故障中斷時,無擾動切換至市電供電,提高了集散控制系統DCS的供電安全系數;同時使不間斷電源UPS可以在線維護檢修,增加了不間斷電源UPS的可靠性及運行周期;并在直接以市電供電的控制站供電回路上采用濾波器,確保其供電質量;另外,增設有指示燈和蜂鳴器,用以指示不同的工作狀態,在不間斷電源UPS故障時,予以報警,起到有效的警示作用,為集散控制系統DCS的供電可靠和穩定提供保證。總之,本實用新型可以有效避免不間斷電源UPS損壞或市電中斷造成集散控制系統DCS供電中斷、導致生產控制中斷的不良情況,對集散控制系統DCS的長周期穩定運行提供了有力的保障。
本裝置能保證:1、當市電停電后,能以不間斷電源UPS繼續供電,保證集散控制系統DCS有充足的時間(至少0.5小時)正常運行,使工藝操作人員可利用這段時間監控各參數將工藝系統停至安全狀態,保證工藝設備的安全;2、一旦不間斷電源UPS損壞,能切換為市電供電,保證集散控制系統DCS供電,確保集散控制系統DCS正常運行。
本實用新型結構合理,操作投運簡單,使用方便,可以在線維修、檢查不間斷電源UPS,穩定性提高,任何情況下均不會造成集散控制系統DCS供電中斷,為集散控制系統DCS提供了可靠穩定的供電模式。
4附圖說明

圖1為本實用新型的電路原理圖;
5具體實施方式
如圖1所示,用于集散控制系統的電源保障裝置,包括內置有濾波器LB、不間斷電源UPS、以及不間斷電源UPS配備的電池組DCZ的箱體,箱體上設有:交流輸入端子S0、S1,Ⅰ控制站輸出端子S6、S7,Ⅱ控制站輸出端子S8、S9,Ⅰ操作站輸出端子S2、S3,Ⅱ操作站輸出端子S4、S5,兩相空氣開關K1-K6;Ⅱ控制站輸出端子S8、S9經濾波器LB、兩相空氣開關K2與交流輸入端子S0、S1相連,不間斷電源UPS的輸入端經兩相空氣開關K1與交流輸入端子S0、S1相連,不間斷電源UPS的輸出端串聯有繼電器KA1,Ⅱ操作站輸出端子S4、S5分別經繼電器KA1的常閉觸點KA1-2、KA1-1、以及兩相空氣開關K3與交流輸入端子S0、S1相連,Ⅱ操作站輸出端子S4、S5分別經繼電器KA1的常開觸點KA1-6、KA1-5、以及兩相空氣開關K6與不間斷電源UPS的輸出端相連,Ⅰ控制站輸出端子S6、S7和Ⅰ操作站輸出端子S2、S3分別經兩相空氣開關K5、K4與不間斷電源UPS的輸出端相連。
箱體上還設有:指示燈HD1、指示燈HD2、蜂鳴器DL、試驗按鈕S1、復位按鈕S2、兩相空氣開關K7,指示燈HD1、繼電器KA1常開觸點KA1-3的串聯支路與指示燈HD2、繼電器KA1常閉觸點KA1-4的串聯支路相并聯,并經兩相空氣開關K7串聯與交流輸入端子S0、S1之間,指示燈HD2的兩端并聯有繼電器KA2與復位按鈕S2的串聯支路,復位按鈕S2兩端并聯有繼電器KA2的常開觸點KA2-2,試驗按鈕S1與繼電器KA2的常閉觸點KA2-1、蜂鳴器DL的串聯支路經兩相空氣開關K7串聯與交流輸入端子S0、S1之間,試驗按鈕S1與繼電器KA2常閉觸點KA2-1的連接節點與指示燈HD2、繼電器KA1常閉觸點KA1-4的連接節點相連。
具體實施時,為保證裝置工作的可靠性,裝置中的繼電器采用歐姆龍系列產品MY4NJ-220;由于不間斷電源UPS和電池組DCZ安裝在箱體內,可有效的防止灰塵等進入,進而延長了不間斷電源UPS的使用壽命。
6發明人介紹:
魏朝陽:1978年出生,畢業于太原化學工業學校,化肥廠儀控車間主任。
魏秀峰:1969年出生,畢業于吉林電氣化高等專科學校,化肥廠技術中心。